วอทส์แอพ

8615665727870

ส่งอีเมลถึงเรา

sdepochwater@hotmail.com

ข่าว

ลักษณะและการจำแนกประเภทของวาล์วประตู


วาล์วประตูหรือที่เรียกว่าวาล์วแผ่นประตูเป็นวาล์วที่มีส่วนเปิดและปิดเป็นแผ่นประตูและถูกขับเคลื่อนด้วยก้านวาล์วเพื่อเลื่อนแผ่นประตูขึ้นและลง


ลักษณะของวาล์วประตู


1) ข้อดีของวาล์วประตู: ความต้านทานการไหลของของไหลต่ำ แรงบิดที่จำเป็นสำหรับการเปิดและปิดมีน้อย ทิศทางการไหลของตัวกลางไม่มีข้อจำกัด ไม่มีปรากฏการณ์ค้อนน้ำเมื่อเปิดและปิด โครงสร้างรูปร่างค่อนข้างเรียบง่าย และกระบวนการผลิตดีขึ้น


2) ข้อเสียของเกทวาล์ว: มีขนาดภายนอกและความสูงในการติดตั้งค่อนข้างใหญ่ และต้องใช้พื้นที่ในการติดตั้งค่อนข้างมาก ในระหว่างกระบวนการเปิดและปิด มีแรงเสียดทานสัมพัทธ์บนพื้นผิวซีล ส่งผลให้เกิดการสึกหรออย่างมาก แม้ในอุณหภูมิที่สูงก็มีแนวโน้มที่จะเกิดรอยขีดข่วนได้ วาล์วประตูมักจะมีพื้นผิวการซีลสองพื้นผิว ซึ่งเพิ่มความยากลำบากในการประมวลผล การบด และการบำรุงรักษา


วาล์วประตูมีการใช้งานที่หลากหลาย มักใช้สำหรับท่อส่งน้ำที่มีเส้นผ่านศูนย์กลางระบุ DN50 ขึ้นไป



การจำแนกประเภทของวาล์วประตู


วาล์วประตูสามารถจำแนกตามวิธีการเชื่อมต่อเป็นวาล์วประตูแบบเกลียว วาล์วประตูแบบหน้าแปลน และวาล์วประตูแบบเชื่อม ตามลักษณะโครงสร้างสามารถแบ่งออกเป็นแผ่นประตูแบบขนานและแผ่นประตูแบบลิ่ม ขึ้นอยู่กับโครงสร้างของก้านวาล์ว พวกเขาสามารถจำแนกได้เป็นวาล์วประตูก้านที่แตกต่างกัน (ก้านยก) และวาล์วประตูก้านปกปิด (ก้านหมุน)




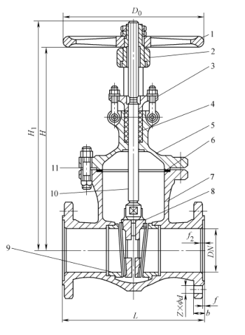
1) วาล์วประตูคู่ขนานก้านเปิด: วาล์วประตูคู่ขนานก้านเปิดแสดงในรูปที่ 1 ประตูประกอบด้วยแผ่นดิสก์สมมาตรและขนานสองแผ่น เมื่อประตูลงมา ลิ่มด้านบนที่วางอยู่ที่ด้านล่างของประตูจะทำให้ประตูทั้งสองขยายออกด้านนอกและกดแน่นกับบ่าวาล์ว จึงปิดวาล์วให้แน่น เมื่อประตูขึ้น ลิ่มจะหลุดออกจากแผ่นดิสก์ เมื่อแผ่นดิสก์ขึ้นถึงความสูงที่กำหนด ลิ่มจะถูกยกขึ้นโดยส่วนที่ยื่นออกมาบนแผ่นดิสก์และขึ้นพร้อมกับประตู วาล์วนี้มีโครงสร้างที่เรียบง่าย การประมวลผล การบด และการบำรุงรักษาพื้นผิวการปิดผนึกนั้นง่ายกว่าวาล์วประตูลิ่ม อย่างไรก็ตาม ประสิทธิภาพการปิดผนึกค่อนข้างต่ำ เหมาะสำหรับสื่อที่มีความดันไม่เกิน 1.0MPa และอุณหภูมิไม่เกิน 200°C



รูปที่ 1: วาล์วประตูคู่ขนานก้านที่เพิ่มขึ้น


1. วงล้อจักร 2- น็อตก้านวาล์ว 3- ก้านวาล์ว 4 - ต่อมบรรจุ 5 - บรรจุ 6 - ฝาครอบวาล์ว

7 - ปะเก็น 8 - แหวนซีล 9- ตัววาล์ว 10- ประตู 11 - ลิ่มด้านบน


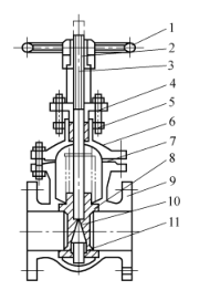
2) วาล์วประตูลิ่มก้านปกปิด: ดังแสดงในรูปที่ 2 พื้นผิวการปิดผนึกของวาล์วนี้จะเอียงและสร้างมุม ยิ่งอุณหภูมิปานกลางสูง มุมก็จะยิ่งมากขึ้น แผ่นเกตลิ่มแบ่งออกเป็นแผ่นเกตเดี่ยว แผ่นเกตคู่ และแผ่นเกตยืดหยุ่น ดังแสดงในรูปที่ 2a, b และ c ตามลำดับ การประมวลผล การบด และการบำรุงรักษาแผ่นประตูลิ่มมีความซับซ้อนมากกว่าแผ่นประตูแบบขนาน แต่มีประสิทธิภาพการปิดผนึกที่ดีกว่า


รูปที่ 2 วาล์วประตูลิ่มก้านปกปิด


a) แผ่นบานประตูเดียวแบบลิ่ม b) แผ่นประตูแบบลิ่มคู่ c) แผ่นประตูแบบยืดหยุ่นแบบลิ่ม


1. วงล้อจักร 2. ไฟแสดง 3. ฝาครอบ 4. กล่องบรรจุ 5. การบรรจุ 6. ฝาครอบวาล์ว

7- ก้านวาล์ว 8 - น็อตก้านวาล์ว 9, 12 - แหวนซีล 10 - ตัววาล์ว 11 - แผ่นประตู 13 - ปะเก็น


วาล์วประตูแบบยืดหยุ่นแสดงในรูปที่ 3 มีข้อดีของโครงสร้างที่เรียบง่ายและการใช้งานที่เชื่อถือได้ และสามารถสร้างการเสียรูปยืดหยุ่นได้เล็กน้อย ซึ่งจะเพิ่มความแน่นในการปิด



รูปที่ 3 วาล์วประตูยางยืด


1. วงล้อจักร 2- น็อตก้านวาล์ว 3 - ต่อมบรรจุ 4 - บรรจุ 5 - ฝาครอบวาล์ว 6 - ปะเก็น

7- ตัววาล์ว 8 แผ่นประตู 9 - แหวนซีล 10 - ก้านวาล์ว 11 - สลักเกลียวเชื่อมต่อ


ในวาล์วประตูก้านที่เพิ่มขึ้น เกลียวของก้านวาล์วจะพอดีกับน็อตปลอกที่มีล้อเลื่อน ปลายล่างของก้านวาล์วมีหัวสี่เหลี่ยมซึ่งฝังอยู่ในแผ่นประตู เมื่อหมุนวงล้อจักร ก้านวาล์วและแผ่นประตูจะเลื่อนขึ้นและลง เมื่อเปิด ก้านวาล์วจะยื่นออกมาจากวงล้อจักร ข้อดีคือสามารถตัดสินระดับการเปิดของวาล์วได้จากความยาวที่เพิ่มขึ้นของก้านวาล์ว และก้านวาล์วจะไม่สัมผัสโดยตรงกับตัวกลางที่ลำเลียง ข้อเสียคือวาล์วมีความสูงในช่องเปิดกว้าง และสถานที่ติดตั้งต้องมีพื้นที่เพียงพอสำหรับให้ก้านวาล์วยื่นออกไปด้านนอก เมื่อติดตั้งบนไซต์ต้องคำนึงถึงจุดนี้ด้วย เกลียวภายนอกของก้านวาล์วของวาล์วประตูก้านแบบปกปิดจะพอดีกับเกลียวภายในที่ฝังอยู่ในวาล์ว ดังนั้นเมื่อหมุนวงล้อจักร ก้านวาล์วจะหมุน ทำให้ประตูภายในวาล์วเลื่อนขึ้นลง แต่ก้านวาล์วไม่สามารถเลื่อนขึ้นลงได้ วาล์วประตูก้านแบบปกปิดใช้พื้นที่น้อยลงระหว่างการติดตั้ง ตัวกลางลำเลียงสัมผัสโดยตรงกับก้านวาล์ว และไม่สามารถตัดสินระดับการเปิดของวาล์วผ่านก้านวาล์วได้ ไม่ว่าจะเป็นวาล์วประตูก้านที่เพิ่มขึ้นหรือวาล์วประตูก้านไม่ที่เพิ่มขึ้น จะต้องติดตั้งวาล์วประตูในแนวนอน ก้านวาล์วควรตั้งขึ้นในแนวตั้งและไม่เอียง ห้ามมิให้ติดตั้งก้านวาล์วลงด้านล่างโดยเด็ดขาด



ข่าวที่เกี่ยวข้อง
ฝากข้อความถึงฉัน
X
เราใช้คุกกี้เพื่อมอบประสบการณ์การท่องเว็บที่ดีขึ้น วิเคราะห์การเข้าชมไซต์ และปรับแต่งเนื้อหาในแบบของคุณ การใช้ไซต์นี้แสดงว่าคุณยอมรับการใช้คุกกี้ของเรา นโยบายความเป็นส่วนตัว
ปฏิเสธ ยอมรับ